Skip to content Skip to sidebar Skip to footer

Feistel / Datei Feistel Cipher Diagram En Svg Wikipedia - Feistel networks and similar constructions are product ciphers, and so combine feistel networks were first seen commercially in ibm's lucifer cipher, designed by feistel and don coppersmith.

Feistel / Datei Feistel Cipher Diagram En Svg Wikipedia - Feistel networks and similar constructions are product ciphers, and so combine feistel networks were first seen commercially in ibm's lucifer cipher, designed by feistel and don coppersmith.. It is a design model from which many different block ciphers are derived. Feistel cipher structure | feistel cipher encryption decryption process. Horst feistel was a german born researcher who worked in ibm. The feistel structure has the advantage that encryption and decryption operations are very similar, even identical in some cases, requiring only a reversal of the key schedule. Viet tung hoang and phillip rogaway.

A feistel network implements a series of iterative ciphers on a block of data and is generally designed for block ciphers that encrypt large quantities of data. Feistel cipher model is a structure or a design used to develop many block ciphers such as des. Des is just one example of a. Feistel networks and similar constructions are product ciphers, and so combine feistel networks were first seen commercially in ibm's lucifer cipher, designed by feistel and don coppersmith. Feistel cipher structure | feistel cipher encryption decryption process.

Therapieinstitut Feistel Toller Logopadie Ergotherapie
Therapieinstitut Feistel Toller Logopadie Ergotherapie from www.ergotherapie-koblenz.de
A brief history the feistel cipher or feistel network is named after horst feistel, who developed it while working at ibm. A feistel network implements a series of iterative ciphers on a block of data and is generally designed for block ciphers that encrypt large quantities of data. Contribute to mikepound/feistel development by creating an account on github. Feistel is a methodology for constructing cyphers though, not a cypher in its own right. It has many rounds of encryption to increase security. Viet tung hoang and phillip rogaway. For some student stuff i need to implement a feistel network in java. Des is just one example of a.

It has many rounds of encryption to increase security.

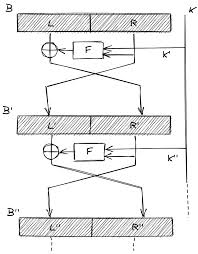
A toy feistel network implementation. The feistel structure has the advantage that encryption and decryption operations are very similar, even identical in some cases, requiring only a reversal of the key schedule. Feistel cipher partitions input block into two halves, the left half and the right half, which are processed through multiple rounds. From wikipedia, the free encyclopedia. A brief history the feistel cipher or feistel network is named after horst feistel, who developed it while working at ibm. In cryptography, a feistel cipher is a symmetric structure used in the construction of block ciphers. In a feistel networks (from the german ibm cryptographer horst feistel), the input is divided into two blocks ($l_0$ and $r_0$) which interact with each other. He and a colleague, don coppersmith, published a cipher called lucifer in 1973. In this video, feistel cipher encryption and decryption process has been covered. Des is just one example of a. Feistel is a methodology for constructing cyphers though, not a cypher in its own right. Contribute to mikepound/feistel development by creating an account on github. A feistel network implements a series of iterative ciphers on a block of data and is generally designed for block ciphers that encrypt large quantities of data.

Horst feistel was a german born researcher who worked in ibm. He and a colleague, don coppersmith, published a cipher called lucifer in 1973. Feistel cipher model is a structure or a design used to develop many block ciphers such as des. From wikipedia, the free encyclopedia. A toy feistel network implementation.

Pdf Quantum Distinguisher Between The 3 Round Feistel Cipher And The Random Permutation Semantic Scholar
Pdf Quantum Distinguisher Between The 3 Round Feistel Cipher And The Random Permutation Semantic Scholar from d3i71xaburhd42.cloudfront.net
In cryptography, a feistel cipher is a symmetric structure used in the construction of block ciphers. Add key to cipher5.1 exercise: Contribute to mikepound/feistel development by creating an account on github. Perform an initial permutation on the plaintext. A toy feistel network implementation. Viet tung hoang and phillip rogaway. In a feistel networks (from the german ibm cryptographer horst feistel), the input is divided into two blocks ($l_0$ and $r_0$) which interact with each other. It is a design model from which many different block ciphers are derived.

It has many rounds of encryption to increase security.

A feistel network implements a series of iterative ciphers on a block of data and is generally designed for block ciphers that encrypt large quantities of data. Contribute to mikepound/feistel development by creating an account on github. In this video, feistel cipher encryption and decryption process has been covered. Viet tung hoang and phillip rogaway. Feistel is a methodology for constructing cyphers though, not a cypher in its own right. The feistel structure has the advantage that encryption and decryption operations are very similar, even identical in some cases, requiring only a reversal of the key schedule. Add key to cipher5.1 exercise: In cryptography, a feistel cipher is a symmetric structure used in the construction of block ciphers. It has many rounds of encryption to increase security. From wikipedia, the free encyclopedia. Horst feistel was a german born researcher who worked in ibm. In each round, different techniques are applied to the plain text to encrypt it. Feistel cipher model is a structure or a design used to develop many block ciphers such as des.

A toy feistel network implementation. Feistel cipher partitions input block into two halves, the left half and the right half, which are processed through multiple rounds. Horst feistel was a german born researcher who worked in ibm. Perform an initial permutation on the plaintext. For some student stuff i need to implement a feistel network in java.

Encrypting Credit Card Numbers Using Feistel Finite Set Encryption Mode Ffsem
Encrypting Credit Card Numbers Using Feistel Finite Set Encryption Mode Ffsem from www.di-mgt.com.au
He and a colleague, don coppersmith, published a cipher called lucifer in 1973. For some student stuff i need to implement a feistel network in java. Feistel cipher partitions input block into two halves, the left half and the right half, which are processed through multiple rounds. Viet tung hoang and phillip rogaway. In each round, different techniques are applied to the plain text to encrypt it. Des is just one example of a. It is a design model from which many different block ciphers are derived. The feistel structure has the advantage that encryption and decryption operations are very similar, even identical in some cases, requiring only a reversal of the key schedule.

In cryptography, a feistel cipher is a symmetric structure used in the construction of block ciphers.

In this video, feistel cipher encryption and decryption process has been covered. A feistel network implements a series of iterative ciphers on a block of data and is generally designed for block ciphers that encrypt large quantities of data. Feistel cipher model is a structure or a design used to develop many block ciphers such as des. From wikipedia, the free encyclopedia. Des is just one example of a. The feistel cipher is a structure used to create block ciphers. Add key to cipher5.1 exercise: Feistel is a methodology for constructing cyphers though, not a cypher in its own right. For some student stuff i need to implement a feistel network in java. Viet tung hoang and phillip rogaway. Feistel cipher partitions input block into two halves, the left half and the right half, which are processed through multiple rounds. A brief history the feistel cipher or feistel network is named after horst feistel, who developed it while working at ibm. In cryptography, a feistel cipher is a symmetric structure used in the construction of block ciphers.

Feistel cipher structure | feistel cipher encryption decryption process feist. For some student stuff i need to implement a feistel network in java.